Mtd riding sales mower steering parts
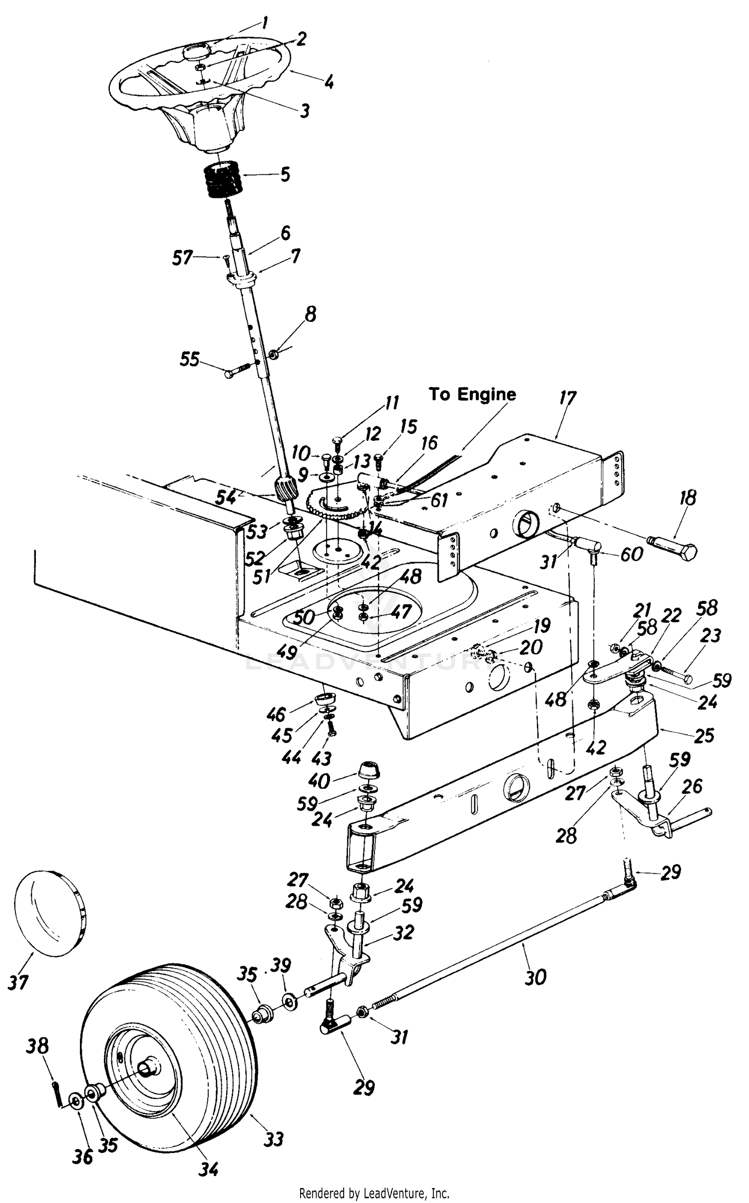
MTD 13AN601H729 2006 Parts Diagram for Steering sales, MTD 13W2775S031 LT4200 2012 Parts Diagram for Front End Steering sales, How to replace a steering shaft on an MTD mower Quora sales, MTD 13BX605G755 2007 Parts Diagram for Steering Assembly sales, MTD 13AM762F052 2008 Parts Diagram for Steering sales, Yard Machines 13A3762F700 Yard Machines Lawn Tractor 2006 sales, MTD MTD Mdl 139 652 169 64788 Parts sales, MTD 13AM762F765 2007 Parts Diagram for Steering sales, MTD 13AM675G062 1998 Wheels Front Axle Front Steering Assembly sales, MTD 13AJ795G004 MTD Gold Lawn Tractor 2009 Steering Parts sales, MTD 13AL771H004 MTD Gold Lawn Tractor 2009 Front End Steering sales, MTD yard machines steering shaft loosening My Tractor Forum sales, MTD MTD Lawnflite 146 834 192 Parts Diagram for Steering sales, Amazon 738 0919B Steering Shaft and 617 04094 Sector Gear Kit sales, Steering repair on White Outdoor Lawn Mower by MTD sales, Steering Shaft 738 0919B MTD Parts sales, MTD 133L660G000 MTD Lawn Tractor 1993 Steering Assembly Wheels sales, My MTD Riding Mower Steering Problems Steering Shaft Replacement sales, GardenPal 617 04094 Steering Gear for MTD T1000 T1200 T1400 T1500 T1600 T1800 T1900 LT2500 Bolens Yard Machines Yard Man Troy Bilt Mower sales, MTD 13AN601H729 2006 Parts Diagram for Steering sales, Steering Shaft Steering Gear fits MTD 753 04517 738 0919 617 sales, How to replace a steering shaft on an MTD mower Quora sales, Steering Gear For Mtd Lawn Mower Parts MFG Supply sales, Amazon Mr Mower Parts Steering Shaft Pinion Gear Replaces sales, White MTD Lawn Mower Steering Sector Gear 717 1550E eBay sales, MTD 14AI808H718 46 sales, MTD 131 659 000 MTD Lawn Tractor 1991 Parts04 Parts Lookup sales, MTD 134R616G190 42 sales, MTD Steering Gear Quadrant 717 1550 GHS sales, MTD 138 666 190 LT 120 1988 Steering Assembly sales, Steering Segment Kit For MTD Cub Cadet 717 1550F 7171550 7171554 sales, Yard Machines 13AH660F088 2001 Lawn Tractor Parts and sales, Steering Shaft fits Troy Bilt Cub Cadet MTD 753 04517 738 0919 sales, Steering assembly Stiga Estate 3084 H 2T2110281 14 2018 model sales, MTD Yard Machines 38 13A2762F329 2016 Drag link Steering gear sales, Craftsman Riding Lawn Mower Replace Steering Shaft 583573701 sales, MTD 130 736G190 LT 145 1990 Parts Diagram for Steering Assembly sales, MTD Montgomery Ward Mdl TMO 33944A 130A670G088 Parts sales, MTD 13A1762F065 MTD Gold Lawn Tractor 2013 Front End Steering sales, MTD 738 0919B Lawn Tractor Steering Shaft and 617 04094 Lawn Tractor Steering Sector Gear Bundle sales, SOLVED Mtd riding mower steering shaft is stripped out Mtd Fixya sales, Lawn Mower Parts Steering Gear Fit 1 Pcs For Columbia For Huskee sales, MTD LF 125 13AH773F600 2009 Steering gear segment Spareparts 783 sales, dlx power steering Talking Tractors Simple trACtors sales, Yard Man 13A2785S001 Yard Man Lawn Tractor 2013 Front End sales, MTD Gold Riding Lawn Mower 13AX795S004 MTD Parts sales, Replacement Parts Service sales, MTD Replacement Part Steering Gear Assembly Amazon Patio sales, Steering Shaft Gear Drag Ball Joint fits MTD OEM 617 04094 sales, MTD 130 650F000 1990 Steering sales.
-
Next Day Delivery by DPD
Find out more
Order by 9pm (excludes Public holidays)
$11.99
-
Express Delivery - 48 Hours
Find out more
Order by 9pm (excludes Public holidays)
$9.99
-
Standard Delivery $6.99 Find out more
Delivered within 3 - 7 days (excludes Public holidays).
-
Store Delivery $6.99 Find out more
Delivered to your chosen store within 3-7 days
Spend over $400 (excluding delivery charge) to get a $20 voucher to spend in-store -
International Delivery Find out more
International Delivery is available for this product. The cost and delivery time depend on the country.
You can now return your online order in a few easy steps. Select your preferred tracked returns service. We have print at home, paperless and collection options available.
You have 28 days to return your order from the date it’s delivered. Exclusions apply.
View our full Returns and Exchanges information.