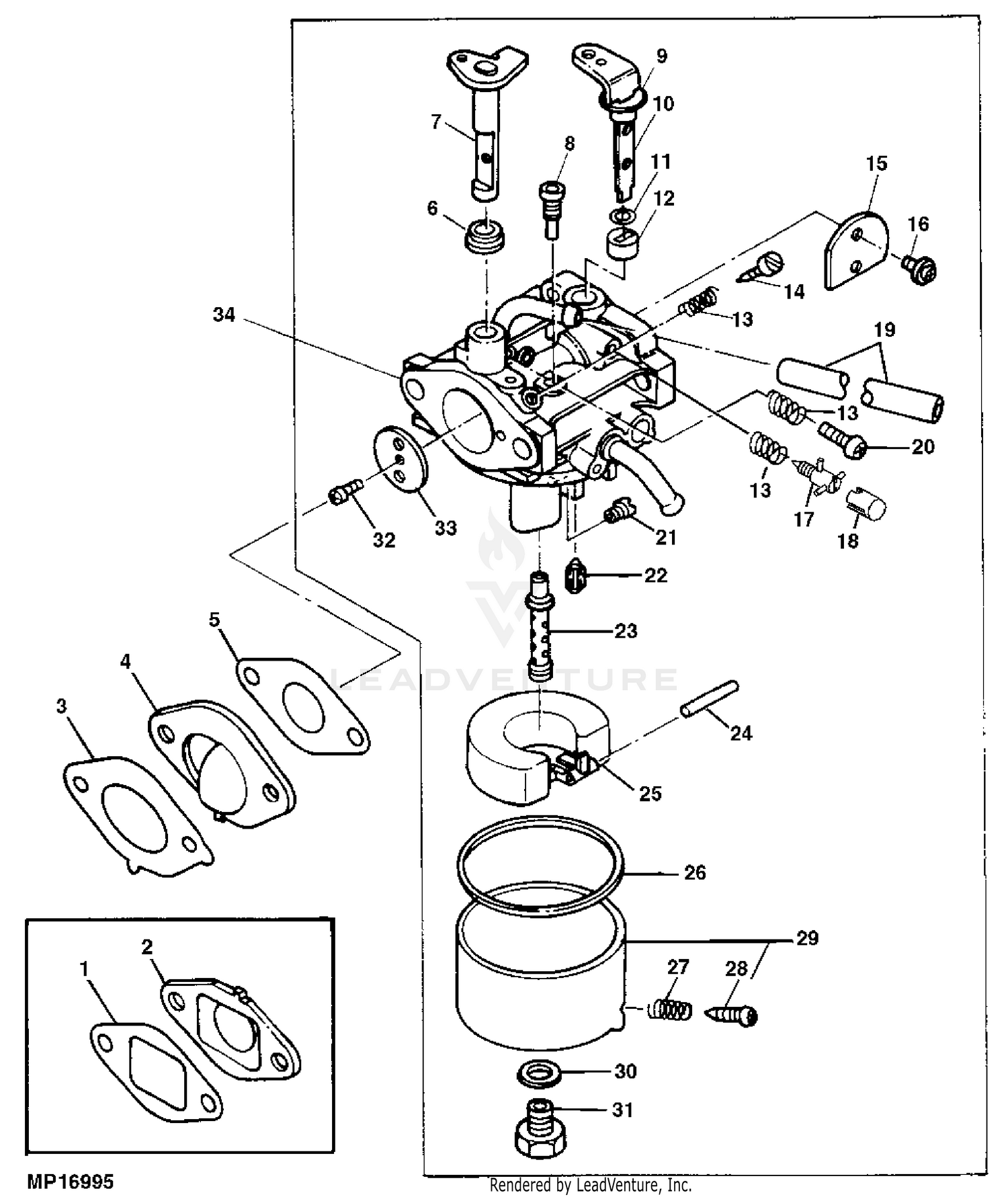
John deere 14sz sales carburetor
John Deere BRIGGS AND STRATTON 4 CYCLE ENGINE MOWER MODELS 14PZ sales, John Deere BRIGGS AND STRATTON 4 CYCLE ENGINE MOWER MODELS 14PZ sales, John Deere 21 IN Walk Behind Mowers Silver 12PB 12SB 12PC sales, Replaces John Deere Lawn Mower 14SZ and 50 similar items sales, John Deere BRIGGS AND STRATTON 4 CYCLE ENGINE MOWER MODELS 14PZ sales, ZAMDOE Carburetor Replacement for John Deere 14SB JE75 JX75 JX85 21 inch Walk Behind Mower for Kawasaki FC150V 4 Stroke Engine Replaces 15003 2364 sales, John Deere BRIGGS AND STRATTON 4 CYCLE ENGINE MOWER MODELS 14PZ sales, John Deere 14SZ lawn mower for Sale in Manteca CA OfferUp sales, John Deere 21 IN Walk Behind Mowers Silver 12PB 12SB 12PC sales, John Deere 21 IN Walk Behind Mowers Silver 12PB 12SB 12PC sales, John Deere Walk Behind Mowers TM1471 Technical Manual sales, Replaces John Deere Lawn Mower 14SZ Carburetor Rebuild Kit Mower sales, Engine Parts Carburetor Kit Fit for John Deere 14SB JE75 JX75 JX85 21Inch Walk Behind Mower Fit for Kawasaki 7PCS Mowers sales, Replaces John Deere Lawn Mower 14SZ and 50 similar items sales, 12 MOWER WALK BEHIND Carburetor EPC John Deere CCE sales, Amazon Harbot 15003 2364 Carburetor for JD 14SB JX75 sales, JOHN DEERE 14PB Lawnmower sat OUTSIDE too long. HOW TO Clean sales, John Deere 14SB carburetor cleaning YouTube sales, CARBRURETOR JOHN DEERE 12PB 12PC 12SB 14PB 14PZ 14SB 14SC 14SE sales, John Deere 21 IN Walk Behind Mowers Silver 12PB 12SB 12PC sales, Amazon Harbot 15003 2364 Carburetor for JD 14SB JX75 JE75 sales, John Deere 21 IN Walk Behind Mowers Silver 12PB 12SB 12PC sales, Replaces John Deere Lawn Mower 14SZ and 50 similar items sales, John deere 14 sz walk behind mower service repair manual PDF sales, Old John Deere Mower Won t Start sales, John Deere 21 IN Walk Behind Mowers Silver 12PB 12SB 12PC sales, TM1471 John Deere Mowers 12PB 12PC 12SB 14PB 14PT 14PZ 14SB 14SC sales, John Deere 12PB 12PC 12SB 14PB 14PT 14PZ 14SB 14SC 14SX sales, Harbot 15003 2364 Carburetor for John Deere 14SB JX75 JE75 JX85 sales, John Deere 21 IN Walk Behind Mowers Silver 12PB 12SB 12PC sales, John deere 14 sz walk behind mower service repair manual PDF sales, John Deere BRIGGS AND STRATTON 4 CYCLE ENGINE MOWER MODELS 14PZ sales, GX21634 GX22026 Lawn Mower Push Pull Cable Lawn Mower Engine Zone sales, TM1471 John Deere Mowers 12PB 12PC 12SB 14PB 14PT 14PZ 14SB 14SC sales, John Deere BRIGGS AND STRATTON 4 CYCLE ENGINE MOWER MODELS 14PZ sales, HQRP 2 pack Engine Air Filter for John Deere 14PS 14PZ 14SS 14SZ sales, Tear down and cleaning my John Deere 14PZ sales, John Deere 12PB 12PC 12SB 14PB 14PT 14PZ 14SB 14SC 14SX sales, 12 MOWER WALK BEHIND Carburetor EPC John Deere CCE sales, John Deere 21 IN Walk Behind Mowers Silver 12PB 12SB 12PC sales, John Deere Original Equipment Carburetor Kit LG498260 AGNLAWN sales, John deere 14 sz walk behind mower service repair manual PDF sales, John Deere 14sb Parts sales, John Deere 12PB 12PC 12SB 14PB 14PT 14PZ 14SB 14SC 14SX sales, 12 MOWER WALK BEHIND Carburetor EPC John Deere CCE sales, John deere 14 sz walk behind mower service repair manual PDF sales, John Deere 12PB 12PC 12SB 14PB 14PT 14PZ 14SB 14SC 14SX sales, John deere 14 sz walk behind mower service repair manual PDF sales, Cylinman AM124620 Carburetor Fit for John Deere 14SB 14SE JX75 sales, John Deere 12SB My Tractor Forum sales.
-
Next Day Delivery by DPD
Find out more
Order by 9pm (excludes Public holidays)
$11.99
-
Express Delivery - 48 Hours
Find out more
Order by 9pm (excludes Public holidays)
$9.99
-
Standard Delivery $6.99 Find out more
Delivered within 3 - 7 days (excludes Public holidays).
-
Store Delivery $6.99 Find out more
Delivered to your chosen store within 3-7 days
Spend over $400 (excluding delivery charge) to get a $20 voucher to spend in-store -
International Delivery Find out more
International Delivery is available for this product. The cost and delivery time depend on the country.
You can now return your online order in a few easy steps. Select your preferred tracked returns service. We have print at home, paperless and collection options available.
You have 28 days to return your order from the date it’s delivered. Exclusions apply.
View our full Returns and Exchanges information.