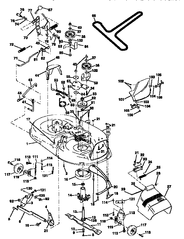
Craftsman sales rider parts
Shop Parts CRAFTSMAN CRAFTSMAN sales, CRAFTSMAN TRACTOR Parts Model 917258870 Sears PartsDirect sales, Official Craftsman riding mowers tractors parts Sears PartsDirect sales, Lawnmower Parts Accessories Oil More CRAFTSMAN CRAFTSMAN sales, Craftsman Riding Lawn Mower Model 13A726JD091 MTD Parts sales, Sears Craftsman 18.0 h.p Lawn Tractor 38 Mower India Ubuy sales, Craftsman 247 288851 Parts Craftsman riding lawn mower Riding sales, Craftsman 42 Cut Riding Lawn Mower Belts 144959 Fits Poulan Husqvarna Rotary Deck Belt sales, Sears Craftsman Repair Parts Manual Model No. 944.101060 PartsBay sales, Sears Craftsman Repair Parts Manual Model No. 944.101081 PartsBay sales, Craftsman Tractor Parts Manual 944.601261 sales, Official Craftsman riding mowers tractors parts Sears PartsDirect sales, 944.602600 Parts List for Craftsman 26 sales, Lawnmowers Parts Craftsman Riding Mower TUFF TORQ India Ubuy sales, Chassis Parts From Craftsman DYT4000 Lawn Tractor sales, Craftsman Riding Lawn Mower Model 13AD78XS099 MTD Parts sales, Sears Craftsman LT2000 17.5 hp 42 6sp Lawn Mower Tractor Parts sales, 944.606681 Manual for Craftsman 18.5 HP 42 sales, MTD Genuine Factory Parts Side Discharge Chute Accessory for Troy sales, MTD Genuine Factory Parts Original Equipment 36 in. Double Bagger sales, Official Craftsman riding mowers tractors parts Sears PartsDirect sales, 944.601380 Manual for Craftsman 12.5 HP 30 sales, Sears Craftsman Riding Lawn Tractor Mower Owner Parts Manual C sales, Shop Craftsman Parts MTD Parts sales, Murray C950 60470 0 Craftsman Lawn Tractor 2004 Parts Diagram sales, Craftsman Tractor Parts Manual 944.609700 sales, CRAFTSMAN Lawn Mower Parts Accessories at Lowes sales, Official Craftsman 917258572 front engine lawn tractor parts sales, SEARS CRAFTSMAN RIDING Lawn Mower Tractor 10 hp Owner Parts sales, CRAFTSMAN T110 42 in 17.5 HP Gas Riding Lawn Mower in the Gas sales, MTD Genuine Factory Parts Original Equipment 42 in. and 46 in sales, 944.609322 Manual for Craftsman 28.0 HP 54 sales, Shop Craftsman Parts MTD Parts sales, Craftsman T2200 42 sales, Used Riding Mower Replacement Parts Craftsman John Deere Cub Cadet sales, MTD Genuine Factory Parts Original Equipment 36 in. Double Bagger sales, 944.605941 Parts List for Craftsman 42 sales, Sears Craftsman RER Riding Lawn Mower Owner Service Parts sales, MTD Genuine Factory Parts Original Equipment 36 in. Double Bagger sales, Shop Parts CRAFTSMAN CRAFTSMAN sales, Craftsman T2200 42 sales, 16 Best Craftsman lawn mower parts ideas craftsman lawn mower sales, Craftsman Riding Lawn Mower Model 13B226JD099 MTD Parts sales, Sears Craftsman 36 Riding Lawn Mower Tractor Owner Parts Manual sales, CRAFTSMAN Lawn Mower Parts Accessories at Lowes sales, Lawn Mower Parts For Craftsman Lawnmowers Fix Your Lawnmower DIY sales, Craftsman Tractor Parts Manual 944.600901 sales, Sears Craftsman LT 12 Lawn Tractor 38 Mower Owner Parts Manual sales, Craftsman 247290000 Lawn Tractor eReplacementParts sales, CRAFTSMAN Lawn Mower Parts Accessories at Lowes sales.
- craftsman rider parts
- craftsman r1000 riding mower parts
- craftsman tractor mower parts
- craftsman lawn mower tractor parts
- craftsman zero turn lawn mower parts
- low price riding lawn mower
- craftsman riding lawn mower bagger parts
- craftsman pro series lawn tractor parts
- craftsman t2200 riding lawn mower parts
- craftsman lt 1500 riding lawn mower parts
-
Next Day Delivery by DPD
Find out more
Order by 9pm (excludes Public holidays)
$11.99
-
Express Delivery - 48 Hours
Find out more
Order by 9pm (excludes Public holidays)
$9.99
-
Standard Delivery $6.99 Find out more
Delivered within 3 - 7 days (excludes Public holidays).
-
Store Delivery $6.99 Find out more
Delivered to your chosen store within 3-7 days
Spend over $400 (excluding delivery charge) to get a $20 voucher to spend in-store -
International Delivery Find out more
International Delivery is available for this product. The cost and delivery time depend on the country.
You can now return your online order in a few easy steps. Select your preferred tracked returns service. We have print at home, paperless and collection options available.
You have 28 days to return your order from the date it’s delivered. Exclusions apply.
View our full Returns and Exchanges information.